Gal galetu man kazkas pagelbet,ryga-13 elektros schemoje du laidai melynas ir zalias iseinantys is mygtuko,jie turi i viena kontakta prie variklio jungtis ar atskirai kazkaip?
http://i1185.photobucket.com/albums/z35 ... lektra.jpg
Jeigu susiduriate su problemomis ar neveikia funkcionalumas, praneškite administracijai.
Dėkojame už supratingumą.
Dėkojame už supratingumą.
Klausiu del r13 degimo
Moderatoriai: Baronas, Moderatoriai
Forumo taisyklės
I dalis. Bendrosios nuostatos
1) Forume būtina laikytis Lietuvos Respublikos įstatymų, bei bendrų etikos normų: neįžeidinėti diskusijų dalyvių, jų pomėgių ar transporto priemonių, būti sąžiningiems. Pagarbos pašnekovui laikymasis – esminis kultūringo bendravimo forume bruožas. Forumas yra skirtas išsilavinusiems ir kultūringiems žmonėms.
2) Forume netoleruojamas betikslis žinučių rašymas. Į tai įeina ir rašymas ne tam skirtose temose, tų pačių žinučių kartojimas, emocijų reiškimas, dviejų vartotojų viešas susirašinėjimas. Bet kokias pastabas dėl forumo taisyklių laikymosi turi teisę pateikti tik forumo moderatoriai.
3) Forumas yra skirtas senovinių transporto priemonių gerbėjams. Forume senovine laikoma tokia transporto priemonė, kuriai žinutės parašymo dieną yra suėję 30 ir daugiau metų. Diskusijos apie jaunesnes transporto priemones draudžiamos.
5) Iš kiekvienos naujai sukurtos temos pavadinimo turi būti suprantama temos (diskusijos, klausimo) esmė. (Teisingas temos pavadinimas – „GAZ 69 priekinis tiltas“, neteisingas temos pavadinimas – „Priekinis tiltas“.).
6) Visos forume pateikiamos nuotraukos turi būti pateikiamos naudojant failų prisegimą. Draudžiama įdėti nuotraukas, kurios užsikrauna iš kitų puslapių (funkcija "img").
7) Kiekvienas vartotojas, savo žinutėje prisegdamas failą, kartu patvirtina bei prisiima iš to išplaukiančią atsakomybę, kad failas pateikiamas nepažeidžiant kitų asmenų autorinių teisių. Visi ginčai dėl autorinių teisių yra sprendžiami teisme tarp autoriaus ir tariamai jo teises pažeidusio asmens. Forumas nėra teismas ir autorinių ginčų nenagrinėja.
9) Forume skatinamas bendravimas taisyklinga lietuvių kalba. Kitos tautybės forumiečiams leidžiami daliniai nukrypimai.
Plačiau: Visos taisyklės
I dalis. Bendrosios nuostatos
1) Forume būtina laikytis Lietuvos Respublikos įstatymų, bei bendrų etikos normų: neįžeidinėti diskusijų dalyvių, jų pomėgių ar transporto priemonių, būti sąžiningiems. Pagarbos pašnekovui laikymasis – esminis kultūringo bendravimo forume bruožas. Forumas yra skirtas išsilavinusiems ir kultūringiems žmonėms.
2) Forume netoleruojamas betikslis žinučių rašymas. Į tai įeina ir rašymas ne tam skirtose temose, tų pačių žinučių kartojimas, emocijų reiškimas, dviejų vartotojų viešas susirašinėjimas. Bet kokias pastabas dėl forumo taisyklių laikymosi turi teisę pateikti tik forumo moderatoriai.
3) Forumas yra skirtas senovinių transporto priemonių gerbėjams. Forume senovine laikoma tokia transporto priemonė, kuriai žinutės parašymo dieną yra suėję 30 ir daugiau metų. Diskusijos apie jaunesnes transporto priemones draudžiamos.
5) Iš kiekvienos naujai sukurtos temos pavadinimo turi būti suprantama temos (diskusijos, klausimo) esmė. (Teisingas temos pavadinimas – „GAZ 69 priekinis tiltas“, neteisingas temos pavadinimas – „Priekinis tiltas“.).
6) Visos forume pateikiamos nuotraukos turi būti pateikiamos naudojant failų prisegimą. Draudžiama įdėti nuotraukas, kurios užsikrauna iš kitų puslapių (funkcija "img").
7) Kiekvienas vartotojas, savo žinutėje prisegdamas failą, kartu patvirtina bei prisiima iš to išplaukiančią atsakomybę, kad failas pateikiamas nepažeidžiant kitų asmenų autorinių teisių. Visi ginčai dėl autorinių teisių yra sprendžiami teisme tarp autoriaus ir tariamai jo teises pažeidusio asmens. Forumas nėra teismas ir autorinių ginčų nenagrinėja.
9) Forume skatinamas bendravimas taisyklinga lietuvių kalba. Kitos tautybės forumiečiams leidžiami daliniai nukrypimai.
Plačiau: Visos taisyklės
-
andiukas223
- Naujokas

- Pranešimai: 13
- Užsiregistravo: 29 Geg 2012, 23:02
- Miestas: Vilnius
Klausiu del r13 degimo
URODAS-beveik dabaigtas: http://s1185.photobucket.com/albums/z35 ... AG0174.jpg
ryga13-kovine
ryga5-dazomas remas
ryga13-kovine
ryga5-dazomas remas
-
augism
- Forumietis

- Pranešimai: 696
- Užsiregistravo: 03 Sau 2011, 21:47
- Miestas: Radviliškis
Re: Klausiu del r13 degimo
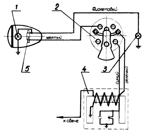
Čia D6 degimas. Labai viskas aiškiai.
Jūs neturite teisės peržiūrėti failų, kurie yra prikabinti prie šio pranešimo.
-
tadas1991
- moderatorius

- Pranešimai: 2069
- Užsiregistravo: 15 Lap 2006, 20:03
- Miestas: Kaunas
Re: Klausiu del r13 degimo
Kaip čia dabar D6 ir su išorine babina? 
Du laidai iš mygtuko ant vairo yra tikriausiai gesinimui, tuomet vienas iš jų jungiamas į masę, kitas prie to varžtelio-kontakto, išeinančio iš po degimo bloko (kitame įsukamas žvaiklaidis).
Du laidai iš mygtuko ant vairo yra tikriausiai gesinimui, tuomet vienas iš jų jungiamas į masę, kitas prie to varžtelio-kontakto, išeinančio iš po degimo bloko (kitame įsukamas žvaiklaidis).